天眼查法律诉讼信息显示,近日,深圳市宝能投资集团有限公司、宝能地产股份有限公司、深圳市宝能汽车有限公司、姚振华等新增一则被执行人信息,执行标的5.05亿余元,执行法院为广东省深圳市中级人民法院。
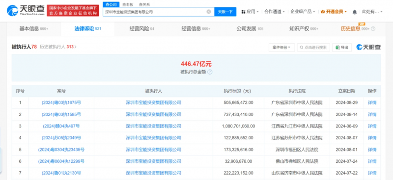
天眼风险信息显示,深圳市宝能投资集团有限公司现存78条被执行人信息,被执行总金额超446亿元,此外还存在多条限制消费令、失信被执行人(老赖)和终本案件信息。


天眼查法律诉讼信息显示,近日,深圳市宝能投资集团有限公司、宝能地产股份有限公司、深圳市宝能汽车有限公司、姚振华等新增一则被执行人信息,执行标的5.05亿余元,执行法院为广东省深圳市中级人民法院。
天眼风险信息显示,深圳市宝能投资集团有限公司现存78条被执行人信息,被执行总金额超446亿元,此外还存在多条限制消费令、失信被执行人(老赖)和终本案件信息。

